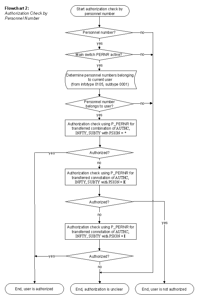
Flowchart of the Authorization Check by Personnel Number